Magyar Kémikusok Lapja
VEGYIPAR ÉS KÉMIATUDOMÁNY
Oldatok melegítése a cukoriparban
Zádori Antal
A technológiai műveletek előtt a gőzfűtéses hőcserélőkben a cukoroldatokat megfelelő hőmérsékletre melegítik, majd a megtisztított cukoroldatot besűrítik. Ehhez a szükséges gőzt a gyár hőerőműve szolgáltatja, mely a gyárat villamos energiával is ellátja.
A besűrítés többfokozatú bepárlóberendezésben történik. Az első bepárlófokozatba, melyet a gőzturbinából távozó gőzzel fűtenek, vezetik a híg cukoroldatot. A többi bepárlófokozatot a megelőző bepárlófokozat cukoroldatából fejlesztett gőz fűti. A sorba kapcsolt bepárlófokozatokban egyre kisebb hőmérsékleten forr a cukoroldat.

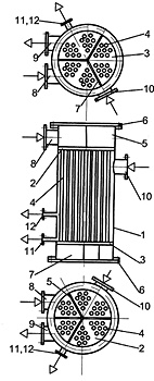
Cukorgyári gőzfűtéses hőcserélő
A bepárlófokozatokban fejlesztett gőz egy részét elvezetik a hőcserélők és a bepárlókristályosítók fűtésére.
Ha a bepárlóberendezés fokozatait a hő áramlásának sorrendjében sorszámozzuk, az n-edik számú bepárlófokozatból elvett gőz, jó közelítéssel, mennyiségének n-szeresével járul hozzá a berendezés elpárologtatási teljesítményéhez. A berendezés jó teljesítményének elérése céljából azzal a legnagyobb sorszámú fokozatból elvett gőzzel kell a technológiai fűtést végezni, amellyel még hatásos fűtés érhető el.
